
Descripción
Torneira absolutamente moderna, estética e prática. É submetido a rigorosos testes de qualidade, tanto com água pressurizada como com ar, impondo um determinado número de ciclos de abertura-fecho equivalente a quinze anos de vida útil do produto.
CARACTERISTICAS
- Design minimalista, linhas limpas e alça alongada. Disponível em diferentes acabamentos
- Enchimento fácil de panelas grandes e todos os tipos de recipientes
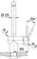
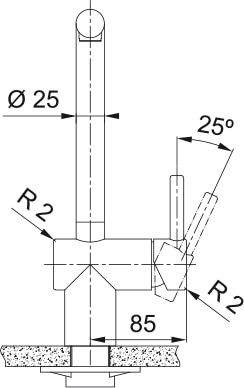
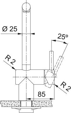
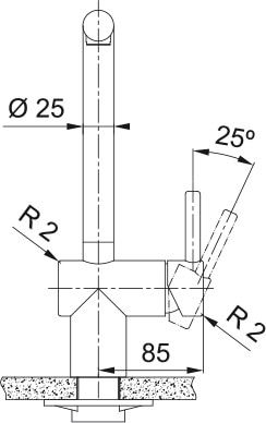
- Abertura de controle 0º / 90º, ideal para instalação contra parede
- Aerador laminar: garante um jato mais cristalino, além de reduzir respingos e geração de cal
- Acabamento PDV: é um tratamento superficial de alta qualidade que confere resistência e maior durabilidade à torneira
ESPECIFICAÇÕES
- Material: aço inoxidável 304
- Revestimento especial: PVD (modelos coloridos)
- bico giratório
- Aerador Laminar
- Rotação da cabeça: 180º
- Abertura de controle: 0/90
- 12,2L/min (3bar)
- Diâmetro do furo: 35 mm
Ref.: 115.0681.241